Электроника в наши дни не только вызывает к жизни новые машины, но и вытесняет в существующих давно привычные механизмы, превосходя их по многим важным параметрам. На некоторых автомобилях, например, она управляет зажиганием, подачей топлива и обеспечивает .при этом увеличение мощности двигателя» надежность его работы. На мотоциклах электронные приборы (стоимость которых пока высока) используются только в системе зажигания высокооборотных двигателей и реле-прерывателях указателей поворота.
Однако сложность и трудоемкость в производстве таких приборов не кажется таким уж непреодолимым препятствием для наших читателей-радиолюбителей. Они располагают солидным опытом в области полупроводниковых «самоделок» и просят опубликовать схемы, пригодные для мотоциклов.
Выполняя эту просьбу, мы печатаем статью инженера Ю. Н. МАРТЬЯНОВА о бесконтактной системе зажигания, которую он применил на своем мотоцикле «Ковровец». Тем, кто интересуется этим вопросом, мы советуем познакомиться с брошюрой А. Моргулева и Е. Сонина «Полупроводниковые системы зажигания», которую выпустило издательство «Энергия» в 1968 году.
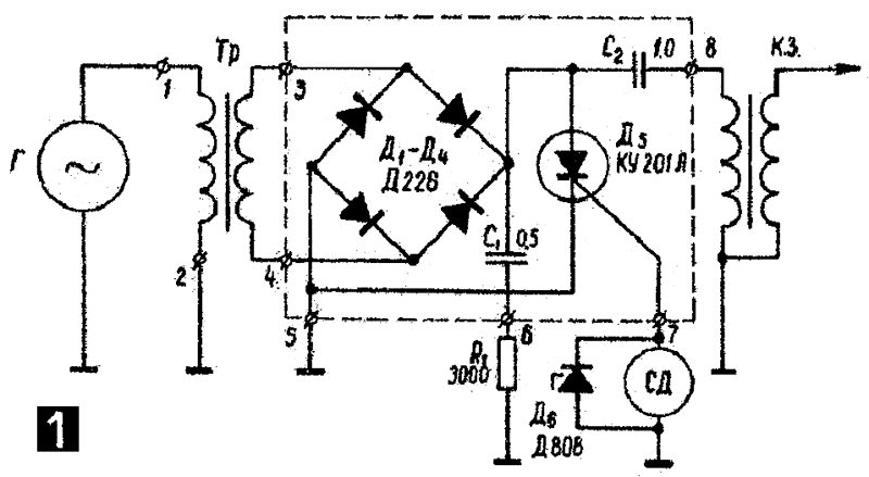
Конденсаторная электронная система зажигания — ее схема приведена на рис. 1 — питается от генератора переменного тока Г-401. Его напряжение колеблется от 2,5 V при пуске до 8 V при работе двигателя на максимальных оборотах. Чтобы напряжение на катушке зажигания было достаточным при пуске и на малых оборотах двигателя, коэффициент трансформации повышающего трансформатора принят равным 100. По мере увеличения оборотов вместе с напряжением растет и частота переменного тока — от 20 гц на холостом ходу до 400 гц при максимальных оборотах. Это явление используется для стабилизации напряжения на вторичной обмотке трансформатора: сопротивление стабилизирующей цепочки падает с увеличением частоты, поэтому напряжение на выходе моста не превышает 400 V во всем диапазоне оборотов двигателя. Таким образом исключается пробой тиристора и катушки зажигания.
Для синхронизации работы электронной схемы и двигателя я изготовил простой и достаточно мощный электромагнитный синхродатчик, способный непосредственно управлять тиристором. Датчик (рис. 2) состоит из постоянного магнита, на одном из полюсов которого укреплен сердечник с катушкой. При вращении якоря, находящегося на валу двигателя, замыкается магнитный поток, и в катушке наводится Э.Д.С., форма которой показана на рис 3 слева.
Полярность катушки выбираем так, чтобы для запуска тиристора использовался второй (положительный) пик напряжения, имеющий более крутой передний фронт. (Пусть простят меня читатели за обилие специальных терминов — статья рассчитана на людей, хорошо знакомых с тонкостями радиолюбительского дела.)

Рис. 1. Схема конденсаторной бесконтактной системы зажигания.
С ростом оборотов двигателя растет амплитуда импульса. Для ее стабилизации выход датчика шунтируем стабилитроном Д808. При этом отрицательный пик срезается, а положительный ограничивается величиной 8 V (рис. 3 справа). Обмотка трансформатора Тр (см. рис. 1) намотана на сердечнике из пластин Ш-200. Толщина их пакета 30 мм, площадь окна 3 см2. Первичная обмотка состоит из 50 витков провода ПЭВ диаметром 0,15 мм. Заметим, что от трансформатора можно избавиться, если для генератора изготовить новую обмотку зажигания, рассчитанную на высокое напряжение.

Рис. 2. Схема синхродатчика:
1 — якорь;
2 — ось вращения якоря.
Каковы должны быть параметры остальных элементов системы? Конденсаторы: С2—МБГТ емкостью 0,5 мкф на 600 V. Тиристор — типа КУ201Л. В данной схеме успешно работает и тиристор КУ201А, имеющий напряжение включения около 600 V (хотя по паспорту оно составляет 25 V). Резистор Кi рекомендую взять проволочный, типа ПЭ-20 сопротивлением 3000 ом. Катушка зажигания остается та же.
Конструкция синхродатчика зависит от имеющегося в наличии магнита. Он должен быть с возможно большей удельной энергией. На один из полюсов магнита крепим сердечник с катушкой (рис. 4). Сердечник набран из Т-образных пластин (можно использовать трансформаторное железо). Ширина среднего выступа пластины 10—12 мм, толщина пакета 5 мм. На средний выступ приклеиваем щечки из гетинакса или текстолита толщиной 0,8—1 мм, сердечник между ними изолируем и наматываем 1200 витков провода ПЭВ-2 диаметром 0,21 мм. Магнит с сердечником припаиваем к основанию, которое крепим двумя винтами М4 к крышке генератора. Якорь набираем из тех же пластин, что и сердечник (толщина якоря 4 мм) и приклепываем к латунному угольнику, который, в свою очередь, крепим болтом на кулачке генератора. Зазоры «а» и «б» должны быть примерно по 0,3 мм. Зазор «а» регулируется перемещением магнита с основанием, зазор «б» — при помощи регулировочных шайб толщиной 0,1 мм. Особое внимание следует обратить на форму концов якоря и сердечника: они должны быть обработаны по радиусу (29,5 мм и 29,8 мм).

Рис. 3. Форма Е. Д. С. до установки стабилитрона (слева) и после его включения.
Диод Д6 припаиваем непосредственно к выводам датчика. Опережение зажигания регулируется как обычно (поворотом генератора). Момент зажигания должен соответствовать точному совмещению якоря и сердечника.
Детали, обведенные пунктиром (см. рис. 1), размещаются в блоке размерами 50x70x35 мм. Резистор ставим отдельно, потому что он нагревается при работе. Трансформатор, электронный блок и резистор можно закрепить под баком мотоцикла в передней части рамы. Переделки в схеме электрооборудования минимальные: надо «пересоединить» провод, идущий от прерывателя к катушке (вместе с проводом, идущим к ключу зажигания), на клемму 1 трансформатора, а на его место подключить провод с клеммы 8 блока. Затем соединить с корпусом клеммы 2 и 5 и подвести один провод с датчика к клемме 7.


Рис. 4. Конструкция и установка синхродатчика:
1 — основание (латунь, толщина 3 мм):
2 — постоянный магнит;
3 — колодочка с лепестками;
4 — катушка;
5 — сердечник;
6 — якорь;
7 — железные заклепки;
8 — угольник (латунь, толщина 2 мм);
9 — регулировочные шайбы;
10 — кулачок;
11 — крышка генератора;
12 — винт М4 (2 штуки).
Длина искры в воздухе достигает 30 мм, поэтому зазор между электродами свечи можно увеличить до 1,5—2 мм.
Мотоцикл с такой системой зажигания эксплуатируется мною два сезона, и за это время она зарекомендовала себя с лучшей стороны. Двигатель заводится, как говорят, с «пол-оборота», значительно снизились и стали устойчивыми обороты холостого хода, улучшилась приемистость и экономичность мотоцикла.
г. Чебоксары
1971N10P16
Как устроены и работают За последние годы в конструкцию мотороллера «Тула-200» внесены существенные изменения. В двигатель введен дополнительный механизм — кик-стартер, установлен воздушный фильтр с масляной ванной, повышена герметичность сальников амортизаторов, применен плавкий предохранитель в электроцепи (на участке династартер— реле-регулятор) и т. д.Многих мотолюбителей интересует, как устроены и работают кик-стартер и новый воздушный фильтр, можно ли установить их на машинах первых выпусков) Рис. 1. Кик-стартер: 1— вал; 2 — рычаг; 3 — каркас сальника; 4 — сальник; 5 — пружина рычага; 6 — опорная шайба; 7 — стопорное кольцо; 8 — держатель пружины; 9 — пружина храповика; 10 — храповик; 11— шестерня; 12 — опорная шайба; 13 — заглушка; 14 — стопорная шайба; 15 — упор. Рис. 2. Воздушный фильтр с масляной ванной. Кик-стартер обеспечивает пуск двига...
Читать далее >>Большинству мотоциклистов не надо объяснять, что такое обтекатель — всем знаком облик мотоцикла для шоссейных гонок. Однако сегодня речь пойдет не о спортивных машинах, а о дорожных. Если обтекатель устанавливают на гоночный мотоцикл, то этим преследуется одна цель — максимально снизить аэродинамический коэффициент сопротивления мотоцикла с гонщиком ради достижения наивысшей скорости. Такой обтекатель, как правило, совершенно не годится для дорожного мотоцикла, причем не только потому что гонщик принимает иную, полулежачую посадку. Дело в том, что щиток, устанавливаемый на дорожный мотоцикл, должен выполнять и другую важную функцию — защищать водителя й пассажира от прямого воздействия встречного воздушного потока. Известно, как нелегко ехать на мотоцикле без щитка с высокой скоростью, а при сильном встречном ветре 70 км/ч покажутся весьма высокой, — мышцы спины и рук очень быстро дают знать об этом. Обтекатель должен избавить водителя от необходимости с...
Читать далее >>Пятерка 350-кубовых Не конкуренты, а союзникиОт «рабочей лошади» до «скакуна»Каждой машине — своя дорогаПри скромных параметрах завидная выносливостьНи один класс мотоциклов, продаваемых в нашей стране, не представлен столь богато разнообразием моделей и «тиражом», как 350 смЗ. В нем три ижевских мотоцикла — «Планета-3», «Юпитер-3», «Планета-спорт» и два чехословацких — ЯВА-634-8 и ЧЗ-472. Неудивительно, что в редакционной почте много писем, в основном от начинающих мотоциклистов, с просьбами дать совет, какую из этих пяти моделей выбрать.Поскольку требования к машине у каждого мотоциклиста диктуются конкретными условиями эксплуатации и личными вкусами, для будущего владельца целесообразнее всего, очевидно, сначала сопоставить основные параметры «пятерки». Это сделает опытный мотоциклист инженер Э. В. КОНОП, участвовавший в редакционных испытаниях 350-кубовых мотоциклов. Заранее с...
Читать далее >>У мотоциклов Ява, случается, отламывается упор на рычагах выключения сцепления и привода тормоза переднего колеса, из-за чего их приходится заменять. Поскольку купить новые нелегко, предлагаю испытанный способ ремонта. В рычаге прорезаю паз, как показано на рис. 1, при помощи ножовки и напильника. Затем из стали толщиной 4 мм вырезаю упор 1 (рис. 2) и подгоняю его точно по пазу. Закрепляю упор винтом 2 с потайной головкой. Чтобы винт не выворачивался, закерниваю его головку и стержень в нескольких точках.Рис. 1. Паз в рычаге. Рис. 2. Установка упора: 1 — упор; 2 — винт МЗ. Л. БАВТРИМОВИЧ 223035, Минская область, ст. Ратомка, пер. Привокзальный, 5 1979N06P33
Читать далее >>С автоматическим центробежным механизмом включения сцепления Мотоцикл существует более полувека. На протяжении всего этого времени он постоянно совершенствовался. И сегодня продолжается неутомимая работа над увеличением мощности двигателя, улучшением компоновки машины, повышением комфортабельности. Ежегодно сотни заявок поступают в патентные бюро. Последние годы многие конструкторы заняты разработкой новых видов двигателей для одноколейных экипажей. На дорогах уже появились опытные модели с таким оснащением. Если учесть, что путь от экспериментальных образцов до серийного занимает иногда десятилетие, то можно предположить, что появление кардинально новых машин дело не столь близкого будущего. Гораздо ближе к завершению работы, направленные на облегчение вождения мотоцикла. Сравнительно недавно внимание специалистов мотоциклостроения было привлечено к двум «Явам». Красные машины внешне мало чем отличались от своих так хорошо известных собратьев. И компоновка та...
Читать далее >>