Многие владельцы мопедов прежних выпусков — «Рига-1«Рига-3», МП-043 и МП-046 — спрашивают, как можно усовершенствовать систему зажигания, чтбы она работала более стабильно и надежно. Отвечает инженер Рижского мотозавода В. Ф. Игнатьев.
На упомянутых мопедах источником тока служат магдины МГ-100 и МГ-102. Катушка зажигания располагается на их статоре и закрыта ротором. Там она плохо охлаждается и из-за этого иногда выходит из строя.
На последних моделях мопедов — «Рига-4» и «Верховина-3» магдины уступили место маховичному генератору переменного тока Г-420 с катушкой зажигания (высоковольтны трансформатором) Б-300, которую можно устанавливать в любом удобном месте. На «Риге-4» ее монтируют под верхним брусом рамы, на «Верховине-3» — в правом отсеке инструментального ящика.
На статоре генератора кроме катушки освещения осталась лишь низковольтная катушка, питающая зажигание. Она по сути является первичной обмоткой трансформатора Б-300.
Такая система зажигания работает значительно надежней, чем прежняя.
Как же применять ее на старых моделях? Можно порекомендовать два способа.

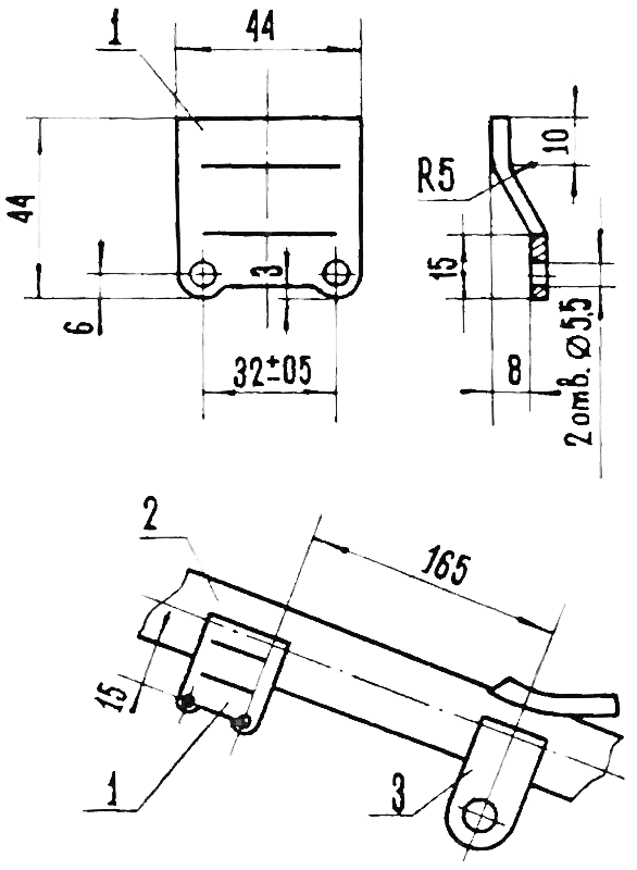
Рис. 1. Пластины для крепления трансформатора и расположение их на раме
1 — пластины;
2 — труба рамы;
3 — кронштейн крепления двигателя.
Первый, наиболее простой. Заменить магдину генератором Г-420 с трансформатором Б-300. Для крепления трансформатора можно сделать хомут или приварить две пластины на верхний брус рамы, как показано на рис. 1. Изготовляют их из стали и варят только продольным швом. Трансформатор, с которого снимают кронштейн со шпильками (предварительно отвернув гайки), вставляют между пластинами так, чтобы провод высокого напряжения располагался с левой стороны по ходу мопеда. Закрепляют прибор ранее снятыми шпильками с гайками. На одну из них предварительно надевают провод, соединяющий Б-300 с массой. Один провод (с клеммой), выходящий из генератора, подсоединяют к трансформатору, а другой (со штекке-ром) — к системе освещения (рис. 2).

Рис. 2. Схема системы зажигания с генератором Г-420 и трансформатором Б-300:
1 — катушка питания зажигания;
2 — контакты прерывателя;
3 — катушка освещения;
4 — конденсатор;
5 — высоковольтный трансформатор;
6 — высоковольтный провод к свече зажигания.
Второй способ связан с перемоткой катушки зажигания. Для этого снимают магдину. Отпаивают провод, идущий от катушки к прерывателю, снимают катушку и удаляют с нее обмотку. На сердечник этой катушки плотно наматывают 400 витков провода ПЭЛ или ПЭВ-2 диаметром 0,59 мм, один конец которого припаивают к сердечнику, а второй — к проводу от прерывателя. Устанавливают трансформатор Б-300, как было описано выше, и соединяют его другую клемму с прерывателем.
1972N03P17
Ширится семейство Вятки Если бы не новые, сверкающие яркой краской мотороллеры с эмблемой «Вятка», приготовленные к отправке, территорию завода можно принять за строительную площадку. Здесь воздвигаются новые корпуса и расширяются существующие, прокладываются внутризаводские конвейеры-транспортеры, сооружаются склады готовой продукции. ...Отдел главного конструктора завода. Сейчас здесь рождается «Вятка-175». Эта модель будет оборудована двухтактным одноцилиндровым двигателем рабочим объемом 175 см3 с принудительным воздушным охлаждением. Двигатель еще не испытан, поэтому трудно сказать о его мощности. Однако конструкторы предполагают, что она будет не менее 7—7,5 л. c., и мотороллер сможет развить скорость до 80 км/час. У нового двигателя есть существенная особенность — поршень, цилиндр, кривошипно-шатунный механизм и детали коробки передач унифицированы с деталями «Ковровца». Такая унификация принята для удобства ремонта, обслужи...
Читать далее >>Усовершенствованный гидроамортизатор передней и задней подвесок На заводе Кировского совнархоза разработан усовершенствованный гидроамортизатор передней и задней подвесок Вятки. Вместо резиновых колец он имеет сальниковое уплотнение с подпружинивающим кольцом (см. рисунок), что значительно улучшило его герметичность. Заводские испытания и всероссийские моторалли, в которых приняли участие спортсмены на мотороллерах «Вятка», показали, что новые амортизаторы обладают высокими эксплуатационными качествами. В гидроамортизаторе упрощен процесс смены масла. Теперь для этого требуется лишь отвинтить гайку корпуса сальника, несколько приподнять ее вместе со штоком и через отверстие, имеющееся в корпусе, залить новое масло. Полностью отвертывать корпус сальника, как это делалось раньше, не надо. К этому прибегают только при осмотре перепускной системы цилиндра или поршня амортизатора. У нового гидроамортизатора клапан цилиндра одностороннего действия, обеспечивающий хо...
Читать далее >>Профилактические советы От потока машин, идущих по шоссе, внезапно отделяется мотоцикл. Он съезжает на обочину и останавливается. Водитель соскакивает на землю и склоняется над своим закапризничавшим помощником. Теперь ему уже не успеть на работу. Вчера он тоже опоздал. У мотоцикла засорилась подача топлива, и водитель, впопыхах продувая бензопровод, вдоволь хлебнул бензина. А сегодня вот лопнул трос сцепления. Мотоциклист на ветру торопливо загибает колющие пальцы проволочки троса. Мотоцикл на обочине — это чрезвычайное происшествие. Водитель, попавший в такое незавидное положение, — примерно то же, что двоечник в школе. Некоторые такие горе-мотоциклисты, подобно двоечникам, ищущим спасения в шпаргалках, стали даже своеобразными специалистами. Они разрабатывают и совершенствуют способы ремонта мотоцикла в пути. Конечно, неплохо уметь быстро найти и устранить неисправности у неожиданно вставшей посреди дороги машины. Но заниматься этим приходится ведь «не от ...
Читать далее >>Электронное зажигание Владельцы мопедов и легких мотоциклов «Восход» и «Минск» последних лет выпуска по достоинству оценили преимущества бесконтактной электронной системы зажигания (БЭСЗ) перед традиционной, контактной — более надежный пуск, стабильность работы и нетребовательность к обслуживанию. Чтобы грамотно ее эксплуатировать, находить и устранять неисправности в системе, многие читатели просят рассказать о принципе действия и устройстве электрических приборов БЭСЗ. Предлагаем вниманию мотоциклистов материал, подготовленный сотрудниками НИИавтоприборов кандидатом технических наук А. АЛЕКСЕЕВЫМ и инженером Н. ВИХОРЕВЫМ. Вместе со статьей «Проверка электронной системы зажигания» («За рулем», 1983, № 7) он отвечает почти на все вопросы, встретившиеся в письмах читателей. К основным узлам и деталям бесконтактной системы зажигания относятся: генератор переменного тока, блок «коммутатор—стабилизатор» (...
Читать далее >>Три модификации мотоцикла ИЖ Планета 5 Объединение «Ижмаш» на протяжении многих лет проводит в жизнь политику широкой унификации выпускаемых машин. Не только параллельной, то есть для изготовляемых одновременно моделей, например «ИЖ-Юпитер-5» и «ИЖ-Планета-5», но и последовательной — преемственность более поздних машин с предшественниками («ИЖ-Планета-5», «ИЖ-Планета-4», «ИЖ-Планета-3» и т. п.). Такая тенденция сохранится и в ближайшее время. Как известно, конструкторы «Ижмаша» предусматривают три перспективных семейства мотоциклов: «Сириус» на смену «Планете», «Сатурн» на смену «Юпитеру» и новое семейство «Орион» (ЗР, 1990, №6). Последнее базируется на японской лицензии, охватывающей четырехтактный одноцилиндровый двигатель, телескопическую переднюю вилку, дисковый тормоз переднего колеса, отлитые из легкого сплава колеса....
Читать далее >>