В нашем журнале не раз шла речь о недостатках электропитания мотоцикла ЯВА-634, выпускавшегося до 1985 года. При малых оборотах коленчатого вала (до 1800 в минуту) 6-вольтовый генератор не вырабатывает энергию, и все потребители в это время питаются от аккумулятора. Если включено освещение и фара, батарея быстро разряжается, что при многократных циклах приводит к выходу ее из строя. Единственная мера, позволяющая избежать этой неприятности, — поддерживать средние обороты даже на плохой дороге или остановках у перекрестков. Ясно, что это доставляет большие неудобства, особенно жителям сельской местности.
В выпускаемой ныне ЯВЕ модели «638» применена 12-вольтовая система электрооборудования (ее описание и схема приведены в № 6 за 1987 год), где более совершенный и мощный генератор начинает работать уже при 1000 об/мин.
Понятно, что многие владельцы старой модели хотят перейти на новое электрооборудование, но встречают препятствие: основной прибор — генератор имеет иные присоединительные и габаритные размеры.
Студент из уральского города Курган Д. КУЗНЕЦОВ преодолел эту трудность и успешно переоборудовал свою машину.
Через московскую спецбазу Роспосылторга, адрес которой указан в инструкции, прилагаемой к мотоциклу, я получил генератор (12 В, 210 Вт), аккумуляторную батарею (12 В, 5 А*ч) «Трепча». Выбор объясняется тем, что отечественную батарею 6 МТС-9 разместить в тесном подседельном отсеке без переделки нельзя. Приобрел также выпрямитель, две катушки зажигания, реле указателей поворота. Поскольку «родные» (модели «638») регулятор напряжения и реле контрольной лампы найти не удалось, я купил реле РР330 от мотоцикла «Урал», учитывая, что разница в мощности генератора у ЯВЫ и «Урала» невелика — 210 и 200 Вт соответственно.
Суть переделки в следующем.
Механическая часть. Из стали любой марки делаем переходные фланец (рис. 1) и конус (рис. 2). При разметке фланца пользуемся в качестве шаблона статором генератора, а конуса — ротором. Кроме того, необходимо, собрав статор с фланцем, пропилить в них круглым напильником небольшое углубление под винт, крепящий правую крышку картера. Переходной фланец устанавливаем вместо старого 6-вольтового генератора в расточку картера и крепим двумя винтами М6 X 30. Затем на цапфу коленчатого вала надеваем переходной конус и ротор генератора. Статор крепим четырьмя винтами М6 X 10 к переходному фланцу. Чтобы не повредить щетки при монтаже новых деталей, их лучше временно снять с генератора.

Рис. 1. Переходной фланец.

Рис. 2. Переходной конус.
Поскольку новый генератор больше по размерам, надо обработать (лучше на вертикально-фрезерном станке, но можно и вручную) правую крышку картера, сняв часть перегородки. Чтобы не повредить крышку на станке, предварительно вставляем распорку, как показано на рис. 3. Кроме того, из подходящего материала — пластмассы, картона и т. п. делаем дистанционную прокладку под крышку толщиной 4 мм, пользуясь правой крышкой картера в качестве шаблона.

Рис. 3. Крышка картера: 1 — распорка; 2 — дистанционная прокладка; 3 — перегородка.
Чтобы защитить генератор от пыли и грязи, вклеиваем резиновую перегородку. Для нее и прокладки используем эпоксидный клей.
Надо еще исключить задевание тормозной педали о «расширившийся» теперь двигатель, — сняв педаль и вал тормоза, укоротить на 4 мм или изготовить новую распорную втулку 5 (рис. 4) и выточить втулку 7 длиной 4 мм. После сборки согласно рисунку педаль окажется смещенной вправо.

Рис. 4. Привод ножного тормоза: 1 — тормозной рычаг; 2 — регулировочный винт; 3 — фетровое кольцо; 4 — рама мотоцикла; 5 — распорная втулка; 6 — вал тормозной педали; 7 — дополнительная распорная втулка; 8 — тормозная педаль.
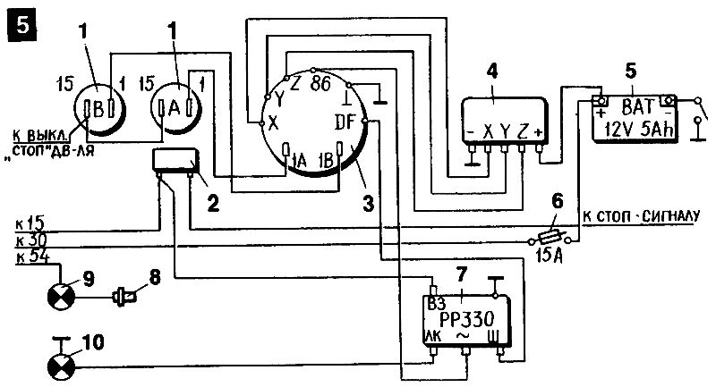
Электрическая часть. Для переделки электропроводки нужно запастись штеккерами шириной 6.3 мм и цветными автомобильными электоопроводами. Если используем приборы от модели «638», соединяем их по «родной» схеме, опубликованной в «За рулем» (1987, № 6). Когда же применяется реле-регулятор РР330 (от «Урала» или другой 12-вольтовый с такими же выводами), тс проводку выполняем, как указано на рис. 5. В любом случае придется изменить схему подсоединения контрольных ламп нейтрали и работы генератора. Для этого необходимо удалить перемычку, соединяющую эти лампы.

Рис. 5. Схема системы энергоснабжения: 1 — катушки зажигания; 2 — выключатель стоп-сигнала; 3 — генератор; 4 — выпрямитель; 5 — аккумуляторная батарея; 6 — предохранитель; 7 — реле-регулятор; 8 — включатель лампы нейтральной передачи; 9 — лампа нейтральной передачи; 10 — контрольная лампа работы генератора.
Далее. Синий провод, идущий от контакта «54» замка зажигания, подсоединяем к контрольной лампе нейтрали. Контрольную лампу генератора подсоединяем дополнительным проводом к корпусу. Чтобы обеспечить надежную «массу» у ламп подсветки тахометра и спидометра, надо проложить еще один «минусовый» провод, как это сделано у ЯВЫ модели «638» (см. названную схему d журнале). Дополнительный провод от выключателя стоп-сигнала подсоединяем к контакту «ВЗ» реле РР330, привод от контакта DF обмотки возбуждения генератора — к контакту «Ш». Синий провод от контрольной лампы генератора подключаем к контакту «ЛК». Контакт «86» генератора соединяем с контактом «~» на реле. Целесообразно сразу установить выключатель с «массы» на «минусовом» проводе, идущем от аккумуляторной батареи к раме мотоцикла.
Что касается фары, то в ней для подсоединения новой лампы нужно заменить узкие штеккеры на широкие от любой мотоциклетной или современной автомобильной фары, где стоит лампа 45/40 Вт. Провода от катушек зажигания можно использовать старые, разогнув лишь чуть-чуть их штеккерные наконечники. Реле-регулятор РР330 и выпрямитель я установил в подседельном отсеке.
Замена 6-вольтовых на 12-вольтовые катушки зажигания, лампочек, реле указателей поворота и звукового сигнала трудностей не вызывает.
Подобным образом я переделал свою ЯВУ модели 634-7-00 в 1985 году, а затем по моим чертежам было переделано еще две машины.
1988N07P14-15
Ковровец становится надежнее Редакция получает много писем от владельцев мотоциклов К-175. Наряду с достоинствами машины они отмечают ее существенные недостатки. Редакция обратилась на завод-изготовитель с просьбой сообщить, как учитываются критические замечания потребителей, что предпринимается для улучшения эксплуатационных качеств мотоцикла, какие изменения внесены в его конструкцию. Здесь публикуется статья, полученная с завода в ответ на эти вопросы. Усилия конструкторов сейчас направлены на повышение надежности основных узлов, оказывающих в конечном счете решающее влияние на «живучесть» всего мотоцикла. Прежде всего это относится к повышению долговечности коленчатого вала. Заводом были проведены исследования, на основе которых разработаны новые конструктивные и технологические решения. Рис. 1. Воздухофильтр мотоцикла К-175В На мотоцикле «Ковровец-175А» был установлен воздухофильтр, который неплохо справлялся с очисткой воздуха, но пр...
Читать далее >>Особенности эксплуатации и способы устранения неполадок Венгерский мотоцикл «Паннония» можно встретить на многих наших шоссе и дорогах. В своих письмах в редакцию водители просят рассказать об особенностях эксплуатации этого мотоцикла и способах устранения неполадок. Советы тем, кто ездит на «Паннониях», дает инженер Ю. Торгов. Топливо и масло. Двигатель мотоцикла «Паннония» имеет степень сжатия 7,2 и рассчитан на применение бензина Б-70, А-72, А-74. Если же использовать бензин А-66, то легко возникает детонация, двигатель теряет мощность, перегревается и быстро изнашивается. Правильно составленная топливная смесь избавит мотоциклиста от многих неприятностей. На хорошо обкатанном мотоцикле (после 5000 км пробега) при температуре окружающего воздуха до 25 градусов тепла следует соблюдать пропорцию бензина и масла 25: 1. При меньшем пробеге или более высокой температуре содержание масла следует увеличить (20:1). Из отечественных сортов масел дл...
Читать далее >>Ремотируем колесо Колесо — одна из тех частей мотоцикла, неисправность которой может привести к беде. Причем тем быстрее, чем выше скорость движения. Искажение формы обода, смещение его в ту или другую сторону от плоскости вращения или оси ступицы вызывают вибрацию машины, ухудшают устойчивость и управляемость, влекут интенсивный и неравномерный износ шин. Ездить с кривым колесом по шоссе — значит постоянно подвергаться ряску совершить аварию. К сожалению, есть среди мотоциклистов, особенно начинающих, те, кто не понимает этого. Решив же наконец ремонтировать колесо, они часто не могут получить ожидаемых результатов и вынуждены заменять новым. Об этом свидетельствует почта редакции, содержащая многочисленные просьбы рассказать подробно, как устранять дефекты и собирать колесо после замены обода или ступицы. Предоставляем слово постоянному автору «Странички мотоциклиста» инженеру Э. КОНОПУ. Многоопытный механик шутит: «Собрать колесо не сложнее, чем п...
Читать далее >>Обновленный MZ TS250/1 МЦ модели ТС250/1 В сентябре 1976 года с конвейера мотоциклетного завода МЦ в Цшопау (ГДР) сошли первые машины модели «ТС250/1». Основные изменения внесены в двигатель и коробку передач. Впервые дорожная модель МЦ оснащена пятиступенчатой коробкой передач. Эта трансмиссия в течение ряда лет испытывалась на спортивных моделях МЦ-ГС в многодневных соревнованиях. Тщательный подбор передаточных чисел позволил гораздо полнее использовать мощность двигателя но всем диапазоне оборотов, улучшить приемистость и поднять максимальную скорость мотоцикла. При этом расход топлива снизился и при скоростях до 85 км/час составляет 2.2—3 л/100 км — отличный показатель в данном классе. Введена остроумная система смазки шестерен в коробке передач. К зубьям смазка поступает из специального подводящего желоба, а к подшипникам — через сверления в валах. Бронзовые втулки в коробке заменены игольчатыми подшипниками без сепараторов. Все это позволило зн...
Читать далее >>А-76 ? Нет, АИ-93 ! Где-то не сработали плановики или снабженцы, и на самом оживленном летнем автомобильном маршруте на бензоколонках в разгар сезона появились очереди. В конце концов все заправились и уехали по домам, но не так быстро, как хотелось бы, и осталось скверное настроение и настороженность — не система ли это! Может «на семьдесят шестом» ездить лучше, его ведь больше! Кто-то еще рассудил, что пятикопеечная разница в цене А-76 и АИ-93 оборачивается крупными доходами для ездящих на «семьдесят шестом». Но забыл или просто не знал элементарных правил конструирования современных автомобильных моторов. А кто-то, пользуясь наивностью рядового автолюбителя, «разработал и изготовил» (уж не будем говорить каким путем) приспособления, «гарантирующие» безбедную эксплуатацию моторов на непригодном для них бензине. И... эпидемия «экономии» потянула за со бон солидные расходы. «Проверенные годами и тысячами килом...
Читать далее >>