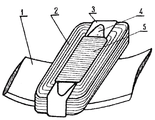
Многие мотоциклисты в тех случаях, когда отказывает генератор переменного тока Г-401 или Г-411. заменяют его новым, полагая, что самому устранить неисправность трудно. Однако, рассматривая замененные генераторы, я установил, что около 80 процентов из них вышли из строя по очень простой и легко устранимой причине — вследствие замыкания одной из обмоток катушек на массу. Это происходит в том месте, где катушка прижимается к статору язычком (см. рисунок). В процессе эксплуатации обмотка становится подвижной (из-за нагрева, вибрации и т. п.), отчего изоляция между ней и язычком повреждается. Признаком неисправности служит падение напряжения в цепи зажигания или освещения.
Чтобы восстановить изоляцию. надо снять генератор, отметить взаимное положение его деталей и разобрать. Место повреждения обмотки можно определить осмотром или электрической проверкой (прозвонкой) после отсоединения катушек одной от другой и от массы. Один конец прибора («тестера», пробника) присоединяют к корпусу генератора, а другой — поочередно к выводам катушек. Наличие короткого замыкания или небольшого сопротивления указывает на повреждение обмотки. Ее снимают, отогнув язычок 4. Затем удаляют изоляцию и погружают обмотку в спиртовой раствор клея БФ-2 на несколько часов (вместо клея БФ-2 можно применить любой пропиточный лак). Вынув обмотку из раствора, дают клею стечь, а затем сушат катушку при температуре 70—90° в течение 3—4 часов. При установке катушек подкладывают под язычок изолирующие пластины из текстолита, гетинакса толщиной 0,5—1 мм и размером 12x8 мм, обильно смазав их клеем БФ-2.
Такие же пластины желательно положить на все другие катушки. Чтобы они впоследствии сохранили неподвижность, целесообразно закрепить обмотки при помощи клея БФ-2.

Крепление катушки:
1 — статор;
2 — обмотка катушки;
3 — изоляция;
4 — язычок;
5 — сердечник катушки.
Собрав генератор в порядке, обратном разборке, ставят его на место. Отремонтированный таким способом, он служит очень долго.
Литовская ССР,
г. Шяуляй, ул. Тайное, 1, кв. 4
М. МЕДВЕДСКИИ
1972N02P38
Неисправности, которые вызывают нарушение состава смеси Мощность и экономичность, легкость пуска и долговечность двигателя, скоростные свойства и легкость управления мотоциклом — вот основные его качества, во многом зависящие от работы карбюратора. Отвечая на вопросы читателей, связанные с этим прибором, редакция опубликовала в августовском номере журнала за прошлый год статью об устройстве и работе мотоциклетных карбюраторов. Сегодня об их неисправностях, вызывающих нарушение состава смеси, рассказывает инженер Б. СИНЕЛЬНИКОВ. Несмотря на кажущуюся простоту конструкции, карбюратор одно из самых сложных устройств мотоцикла. В нем протекают многообразные процессы смесеобразования, которые трудно оценить даже в лабораторных условиях. Определить причины неисправности работы дозирующих систем и узлов карбюратора даже после его разборки и тщательного осмотра задача не всегда простая и для специалистов, если, конечно, не обнаружены механические повреждения деталей. И судить о ра...
Читать далее >>1000-кубовый восток Среди известных новых машин, созданных ВНИИмотопромом в последние годы, особняком стоит мотоцикл с коляской «Восток—КР1000» для кроссов. Он разработан молодым инженером В. Зарубиным, который задался целью сконструировать машину, способную конкурировать в этом виде соревнований с лучшими зарубежными моделями. Международная мотоциклетная федерация с 1976 года ввела для соревновании по кроссу на мотоциклах с коляской новый класс, до 1000 см3, вместо прежнего, до 750 см3. В результате советские спортсмены, которые располагали техникой, базировавшейся на двигателях дорожных машин класса 650 см8, были поставлены в неравные условия, поскольку отечественная промышленность не выпускает мотоциклов с 1000-кубовыми двигателями. ФМС СССР, чтобы стимулировать творчество спортсменов и заводских конструкторов, с 1977 года ввела этот класс во внутрисоюзных соревнованиях. Отдельные спортивные коллективы за последнее время создали интересные конструкци...
Читать далее >>Токсичен! С тех пор как в журнале появилась рубрика - «Автомобиль и окружающая среда», читатели нередко обращаются в редакцию с вопросами, суть которых можно выразить так: не выпадает ли из поля зрения «вклад» мотоцикла в загрязнение атмосферы? Это волнует читателей самых разных районов. В редакцию звонят и пишут из Алма-Аты (В. Николаев), Северодонецка (Т. Сычев), Киева (А. Коваленко), других городов. Пожалуй, точнее всех сформулировал в своем письме эту тревогу А. Хананов из города Рубцовска Алтайского края: «Почему обойден вниманием младший брат автомобиля — мотоцикл?.. Часто приходится видеть оставляемую им синюю дымовую завесу, которой мог бы позавидовать МАЗ, Причем во время техосмотра в ГАИ такие мотоциклы пропускаются».Особенно актуален этот вопрос сегодня, после принятия Закона СССР «Об охране атмосферного воздуха», где обращено особое внимание на соблюдение государственных стандартов в этой области. В Законе прямо гов...
Читать далее >>Мотоцикл с маркой "Днепр" Мотоцикл «Днепр—11». Модель «Днепр—16» с приводом на колесо коляски легко отличить от показанного на снимке по раздельным седлам. Киевский мотоциклетный завод приступил к серийному выпуску новых машин «Днепр—11» и «Днепр—16». Первая заменила дорожную модель «Днепр» МТ10—36, вторая — мотоцикл повышенной проходимости «Днепр—12». При их разработке учтены последние требования стандартов по активной и пассивной безопасности, а также пожелания мотоциклистов. Вначале — о новых узлах, которые являются общими для обеих моделей. Это тормоз колеса коляски, стояночный тормоз, фонари и комбинированные переключатели. Усовершенствования относятся к конструктивным факторам, повышающим безопасность движения. Тормозной путь со скорости 60 км/ч стал на 5 метров короче. Стояночный тормоз с механическим приводом надежно действует...
Читать далее >>Первые километры В прошлом году на смену известному мотоциклу ЯВА—350 модели «360/00» пришла новая модель — 634-01.О том, как проявил себя мотоцикл в ходе редакционного теста, рассказывает инженер Э. КОНОП.Первый выездМотоцикл ЯВА 634-01, поступающий в нашу страну, привлекает к себе внимание непривычно строгой, можно сказать, спартанской внешностью, лишенной некоторых элементов мотоциклетной «архитектуры», характерных для моделей 60-х годов.Надо признать: по внешнему виду мотоцикл нравится не всем. Очевидно, некоторые мотолюбители настолько привыкли к округлым формам прежней ЯВЫ, что, не будучи знакомы с современной, «спортивной» модой в мото-циклостроении, считают ее своеобразным эталоном, любое отклонение от которого режет глаз и отвергается.При оценке изменений, происшедших во внешности мотоцикла Ява, следует учитывать, что они связаны с разработкой усовершенствованной конструкции, отвечающей требованиям длительной эксплуатации в ...
Читать далее >>