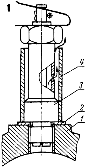
При пользовании декомпрессором выбрасываемая из цилиндра горючая смесь попадает на ребра головки цилиндра. Она вскоре покрывается масляной пленкой, придающей головке неопрятный вид и ухудшающей теплообмен с воздухом. Этого можно избежать, если на декомпрессор 3 (рис. 1) надеть металлический цилиндр-экран 4 внутренним диаметром 13,5 мм с толщиной стенки 0.4— 0.6 мм. Промыть замасленный декомпрессор значительно легче, чем чистить головку, а изготовить цилиндр можно из куска жести размером 30X45 мм.

Рис. 1. Экранирование декомпрессора: 1 — головка цилиндра; 2 — шайба; 3 — декомпрессор; 4 — экран.
По мере эксплуатации мопеда, вследствие износа рабочей части фиксатора рукоятки включения передач. начинают самопроизвольно включаться или выключаться передачи. Неприятно ощущать и дребезжание рукоятки при движении машины. Фиксатор 2 (рис. 2) станет «вечным», если на его рабочую часть, сточенную до диаметра 6 мм на длине 8» мм, напрессовать отрезок трубки 1 (желательно стальной) наружным диаметром 8 мм. Фиксация рукоятки после такой переделки станет более полной, надежной и долговечной. Износившуюся же трубку можно повернуть или заменить новой — это значительно легче, чем делать новый фиксатор. Небольшое дополнение: между крышкой и корпусом рукоятки в местах расположения винтов необходимо установить шайбы толщиной 0,5 — 0,7 мм.

Рис. 2. Переделка фиксатора: 1 — трубка; 2 — фиксатор; 3— труба руля; 4 — трос.
Ю. ОСТАПЮК
296005, г. Львов, ул. Десняка, 4/5-Г.
1974N09P38
Усовершенствованный гидроамортизатор передней и задней подвесок На заводе Кировского совнархоза разработан усовершенствованный гидроамортизатор передней и задней подвесок Вятки. Вместо резиновых колец он имеет сальниковое уплотнение с подпружинивающим кольцом (см. рисунок), что значительно улучшило его герметичность. Заводские испытания и всероссийские моторалли, в которых приняли участие спортсмены на мотороллерах «Вятка», показали, что новые амортизаторы обладают высокими эксплуатационными качествами. В гидроамортизаторе упрощен процесс смены масла. Теперь для этого требуется лишь отвинтить гайку корпуса сальника, несколько приподнять ее вместе со штоком и через отверстие, имеющееся в корпусе, залить новое масло. Полностью отвертывать корпус сальника, как это делалось раньше, не надо. К этому прибегают только при осмотре перепускной системы цилиндра или поршня амортизатора. У нового гидроамортизатора клапан цилиндра одностороннего действия, обеспечивающий хо...
Читать далее >>Какое масло лить в двухтактные и четырехтактные двигатели Группа мотоциклистов, заночевавших на лесной стоянке около озера Рица вела обычный разговор о машинах. У двигателя мотоцикла М-62 после пробега в 20000 км застучал подшипник шатуна. Это, конечно, опечалило водителя. Он был далеко не новичком, ездил на мотоциклах различных марок, участвовал в дальних туристских пробегах, не страшился ремонтов вдали от мастерских. На вопрос: «А масло у вас подходящее?» он уверенно ответил: «Самое лучшее — СУ». Слов нет. СУ — индустриальное 50 — действительно хорошее масло. Водители автомобилей «Москвич» и «Волга» стремятся заправлять им свои машины, предпочитая его маслу АК-10. Но всегда ли годится оно для мотоцикла? У нас в обращении находится значительно больше сортов масел, чем указано в заводских инструкциях, и мотоциклисты, услышав о высококачественных маслах, во что бы то ни стало хотят применить их взамен тех, к...
Читать далее >>К 100-летию мотоцикла Мой первый мотоцикл — НСУ 1911 года с мотором в 2,5 л. с. Тогда такое необычное словосочетание резало слух. Оно относилось к изобретению Готлиба Даймлера, на которое он 29 августа 1885 года получил патент ДРП № 36423, позднее его повозку назвали мотоциклом. За сто лет конструкция столь привычного сегодня транспортного средства в деталях менялась довольно значительно, но принципиально осталась такой же.Среди патриархов наших мотоциклистов особое место принадлежит Ивану Александровичу Успенскому. Он был лишь на год моложе одноколейной машины Даймлера и все 98 лет своей жизни посвятил мотоциклу. У него сложились собственные суждения, которые он формулировал в книгах и статьях, публичных лекциях и дружеских беседах, мемуарах и памятных записках. Мы приведем некоторые выдержки из них, соотнеся рассматриваемые там вопросы с юбилеем почитавшегося им мотоцикла.Первый из часто задаваемых вопросов на мотоциклетную тему отражает сомнения в целесообразности су...
Читать далее >>О том, что пьяный за рулем «опаснее врага», говорилось много. Между тем в следственной и судебно-медицинской практике и сегодня среди виновников дорожно-транспортных происшествий до 40 процентов составляют нетрезвые водители. Алкогольное опьянение является причиной многих несчастий на дороге, усугубляет тяжесть последствий. И все-таки находятся люди, которые считают возможным предложить стопку водки шоферу, заведомо зная, что ему придется вести машину. И все-таки находятся водители, отваживающиеся сесть за руль под хмельком.Чем вызвана эта, мягко говоря, легкомысленная терпимость к алкоголю там, где он абсолютно противопоказан? В большой мере — весьма приблизительными представлениями о его влиянии на организм человека. Иным водителям кажется, что кружка пива или рюмка водки никак не могут повредить их профессиональным качествам, способности мгновенно отреагировать на опасную ситуацию. На деле все не так. Даже небольшие дозы спиртного резко ухудшают психические ...
Читать далее >>Рис. 1 — фонарь левого указателя поворота 2 — лампа А12-21; 3 — фара;- 4 — лампа А12-4 габаритного и стояночного света; 5 — лампа А12-45-40 дальнего и ближнего света; 6 — фонарь правого указателя поворота (на мотоцикле с коляской не подключен): 7 — спидометр; 8 — лампа А12-1 освещения спидометра; 9 — фонарь контрольной лампы указателей поворота; 10 — фонарь контрольной лампы аварийного давления масла; 11 — фонарь контрольной лампы дальнего света; 12 — фонарь контрольной лампы генератора; 13 — фонарь контрольной лампы датчика нейтрали; 14 — панель приборов; 15 — центральный переключатель; 16 — переключатель указателей поворота; 17 - прерыватель указателей поворота; 18 — пробка контакта; 19 — датчик аварийного давления масла; 20 — переключатель света; 21 — передний фонарь коляски 22 — лампа А12-21 габаритного света и сигнала тормоза на коляске; 23 — бл...
Читать далее >>