Разрабатывая экипажную часть нового мотороллера (рис. 1), конструкторы заботились прежде всего о повышении удобств для водителя и пассажира. Всесторонний анализ старой конструкции подрессоривания убедил нас в том, что простая модернизация ее не даст резкого повышения плавности хода. Поэтому еще в 1963 году наш завод совместно с лабораторией агрегатов ЦКЭБ мотоциклостроения приступил к созданию и отработке подрессоривающих средств, которые по своим параметрам не только не уступали бы известным зарубежным образцам, но и превосходили их.

Рис. 1. Мотороллер В-150М
Результат этих работ — новые, оригинальной конструкции подвески мотороллера В-150М.
Передняя подвеска
Мотолюбителям хорошо известна прежняя конструкция, где колесо устанавливалось консольно, а упругие элементы располагались с одной стороны.
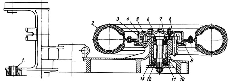
Новая подвеска (рис. 2) — среднерычажная, толкающего типа, с двумя пружинно-гидравлическими амортизаторами. Кинематика перемещения оси колеса подобрана так, что теперь приближается к кинематике телескопической вилки мотоцикла. Это означает, что вылет колеса остается почти постоянным при перемещении оси вверх и вниз. Поэтому-то по управляемости и устойчивости новый мотороллер не уступает современным мотоциклам.

Рис. 2. Передняя подвеска
Увеличение хода колеса до 120 мм, установка пружин с большим предварительным поджатием позволили уменьшить жесткость подвески втрое по сравнению с подвеской В-150.
В подвеске на штоки амортизаторов устанавливаются большие резиновые буферы сжатия, а на рычаге подвески, в чашках — буферы отбоя. Они предотвращают удары при срабатывании подвески до ограничителей хода.
Прежде чем поступить в серийное производство, подвеска испытывалась в ЦКЭБ на специальных стендах, имитирующих движение по волнообразной дороге и наезды на препятствия. Результаты — самые положительные. Однако для всесторонней оценки плавности хода были проведены сравнительные стендовые испытания с зарубежными машинами — мотороллером «НСУ-Прима V» (175 см3), мотоциклами МЦет-250 и БМВ Р-69-С (500 см3). Как оказалось, водителю мотороллера В-150М передавались меньшие динамические нагрузки. Это подтвердили и дорожные испытания.
Задняя подвеска
Установка заднего колеса — по-прежнему консольная, на алюминиевом литом рычаге (рис. 3). Правда, теперь он одновременно служит кожухом для цепи. Рычаг с пружинно-гидравлическим амортизатором на конце качается на оси в капроновых втулках, запрессованных в резиновый сайлент-блок. Это снизило передачу вибрации от двигателя на экипажную часть мотороллера.

Рис. 3. Алюминиевый литой рычаг и устанавливаемое на нем заднее колесо: 1 — резино-капроновый подшипник; 2 — шина; 3 — стальной тормозной барабан; 4 — тормозные колодки; 5 — ось тормозных колодок; 6 — ось заднего колеса; 7 — сальник; 8 — тормозной кулачок с осью; 9 — лабиринтное уплотнение; 10 — распорная втулка; 11 — подшипник; 12 — гайка; 13 —ведомая звездочка заднего колеса
Известно, что от задней подвески во многом зависит плавность хода. Поэтому вместо одной бочкообразной пружины у В-150 в новом мотороллере на корпус амортизатора последовательно установлены две, с большим предварительным натягом, разным диаметром проволоки и шагом. У В-150М, когда на нем
едет только водитель, работают обе пружины, поэтому жесткость подвески небольшая. При езде с пассажиром слабая пружина сжимается до соприкосновения витков и выключается из работы. Жесткость подвески при этом возрастает почти вдвое. На В-150М можно ездить с большой скоростью по дорогам с несовершенным покрытием. Чтобы уменьшить трение пружин о корпус амортизатора, между ними теперь устанавливают опорное кольцо из полиамидной смолы АК 85—15. Внутри амортизатора, между корпусом сальника и поршнем, на штоке имеется специальная пружина, которая разгружает амортизатор от усилия предварительного натяга двух основных пружин, исключая удары поршня о корпус сальника при отбое. В верхней части амортизатор закрыт полиэтиленовым кожухом, защищающим хромированный шток и сальник от грязи. Большой резиновый буфер сжатия предотвращает жесткие удары, когда подвеска работает с полной нагрузкой.
Гидравлические амортизаторы
Сейчас на мотороллерах применяются гидравлические амортизаторы, в которых силы сопротивления при обратном ходе создаются за счет избыточного давления в надпоршневом пространстве внутреннего цилиндра. При ходе же сжатия либо совсем не возникает сил сопротивления, либо они очень малы. Высокое давление в верхней части амортизатора предъявляет повышенные требования к герметичности сальникового уплотнения: при малейшем нарушении его амортизатор выходит из строя из-за течи масла. Кроме того, как показали специальные исследования, температура масла во внутреннем цилиндре значительно выше (примерно на 15 градусов), чем в компенсационной камере. Это снижает его вязкость, а следовательно, уменьшает силы сопротивления гидравлики.

Рис. 4. Пружинно-гидравлический амортизатор передней подвески: 1 —нижний перепускной клапан; 2— корпус амортизатора; 3— нижний стакан; 4— демпфер; 5—корпус сальника; 6 — гайка сальника; 7— верхний стакан; 8 — шток поршня; 9—пружина; 10 — резиновый буфер сжатия; 11 — шплинт; 12 — верхний наконечник
Проектируя гидравлический амортизатор (рис. 4) для мотороллера В-150М, мы постарались избавиться от этих недостатков.
Рассмотрим принцип его работы.
При ходе сжатия поршень со штоком 8 входит во внутренний цилиндр и вытесняет масло из-под поршневой полости через нижний перепускной клапан 1 в компенсационную камеру. При этом шарик перепускного клапана под незначительным давлением масла выходит из своего гнезда и не препятствует свободному его перетеканию. Силы сопротивления гидравлики в этом случае незначительны. Охлажденное масло из компенсационной камеры перетекает через отверстия в верхней части внутреннего цилиндра в надпоршневую полость. Таким образом происходит смена масла во внутреннем цилиндре и интенсивный теплообмен в компенсационной камере. В конце хода сжатия, когда поршень останавливается, шарик нижнего перепускного клапана под действием пружины перекрывает перепускное отверстие.
При обратном ходе поршень, перемещаясь вверх, создает разрежение в подпоршневом пространстве. Масло в эту полость внутреннего цилиндра может попасть только через клапаны в поршне и через кольцевой зазор между ним и цилиндром. Такая конструкция допускает регулировку силы сопротивления гидравлики. Теперь водитель может сам изменить величину предварительного поджатия пружин клапанов поршня, устанавливая шайбы между поршнем и гайкой крепления. Это особенно ценно при переходе с летней эксплуатации на зимнюю и наоборот, то есть при резкой смене окружающей температуры. У В-150М при работе амортизатора во внутреннем цилиндре не создается высокого давления, силы сопротивления гидравлики при обратном ходе возникают из-за образования разрежения в подпоршневом пространстве внутреннего цилиндра (при прямом ходе они минимальны). Масло в амортизаторе при обоих ходах движется в одном направлении. Это уменьшает его температуру и повышает стабильность сил сопротивления.
В новых амортизаторах применяется больше пластмасс, делающих их легкими и надежными. Защитные кожухи, например, теперь изготовляются из полиэтилена низкого давления. В нижней головке амортизатора устанавливается подшипник скольжения из полиамида П-68 с добавкой 10 процентов талька, проходящий специальную термообработку в масле. Такой подшипник более долговечен, чем подшипники из бронзы и других антифрикционных материалов. Для уменьшения трения пружин о корпус амортизатора он армируется полиамидом АК 85-15 и пропитывается в масле.
Внутренний цилиндр изготавливается из более износостойкой стали, чем раньше. Шток амортизатора хромируется. Это небольшое усложнение технологии сторицей окупается повышением «живучести» резинового сальника. Раньше из-за коррозии штока он быстро изнашивался и выводил из строя амортизатор вследствие течи масла.
Дорожные испытания показали высокую надежность и долговечность амортизаторов. В течение гарантийного срока, и даже более, они могут работать без смены или доливки масла.
Колеса
Переднее (рис. 5) и заднее колеса взаимозаменяемы (без тормозных барабанов). Шины — прежнего размера — устанавливаются на разъемных дисках, хорошо зарекомендовавших себя простотой обслуживания. Диски — штампованные, унифицированные с дисками колес грузового мотороллера МГ-150.

Рис. 5. Переднее колесо: 1 тормозные колодки; 2 — ступица тормозного барабана; 3 — ведущая шестерня спидометра; 4 — тормозной кулачок; 5 — рычаг кулачка; 6 — тормозной барабан; 7 — шина; 8 — болты крепления дисков колес к тормозным барабанам; 9 — подшипник; 10 — ось; 11 — гайка оси; 12 —узел уплотнения
Ступица переднего колеса — алюминиевая литая, в ней армировано стальное тормозное кольцо и втулка для запрессовки подшипников. К приливам крепятся болтами диски колеса. Для надежной защиты подшипников от грязи с левой стороны колеса установлено комбинированное уплотнение — резиновый самоподжимной сальник и перед ним войлочное кольцо. С другой стороны на ступице тормозного барабана установлены тормозные колодки (защита их от попадания влаги и грязи улучшена) и привод спидометра. Изменилось место установки троса привода спидометра; это было сделано для повышения его долговечности.
Теперь, чтобы снять переднее колесо с рычага подвески, нет нужды вынимать ось из колеса. Достаточно лишь вывернуть контргайку и специальные втулки, чтобы ось вышла по пазу из рычага. Такое крепление, во-первых, исключает попадание грязи в подшипники, и, во-вторых, даже при поломке оси аварии не произойдет, так как мотороллер сохраняет способность двигаться.
Ступица заднего колеса выполнена штампованной и унифицирована со ступицей грузового мотороллера МГ-150.
Тормоза
Для повышения эффективности торможения на переднем и заднем колесах нового мотороллера применены новые более мощные тормоза. Диаметр тормозного барабана увеличен до 150 мм (против 125 мм у мотороллера В-150). Оба тормоза — ручной и ножной — колодочного типа. Литые алюминиевые колодки с приклепанными к ним фрикционными накладками взаимозаменяемы. Тормозные колодки унифицированы с колодками грузового мотороллера МГ-150. Привод на передний тормоз по-прежнему тросовый, но на задний — жесткая тяга. Улучшена защита тормозов от попадания воды и грязи.
Следует добавить, что при включении переднего тормоза мотороллер теперь не «клюет» вниз, как старая «Вятка», а поднимается вверх. Это объясняется заменой старой передней рычажной подвески тянущего типа новой рычажной толкающего типа.
После установки на мотороллер В-150М таких подвесок и тормозов не только повысилась плавность хода, безопасность движения, но и увеличилась средняя скорость движения машины по дорогам с неусовершенствованным покрытием.
Мы надеемся, что мотолюбители по достоинству оценят новую ходовую часть мотороллера «Вятка».
Р. ФРОЛОВ, инженер-конструктор
1966N03P12-13
Как лучше сохранить цепьПочти у всех современных мотоциклов крутящий момент от двигателя на заднее колесо передает цепь. Популярная некогда карданная передача из-за сложности, большого веса и дорогостоящего производства сохраняется ныне только на тяжелых мотоциклах с противолежащими цилиндрами двигателя- Там она удобно компонуется, благодаря тому что коленчатый вал лежит в продольной плоскости машины, как и кардан, что обеспечивает удобную их связь.Есть у цепи один существенный недостаток — по долговечности она намного уступает карданной передаче, а внимания требует больше. Особенно сильно цепь изнашивается на мотоциклах, где она не защищена от грязи, воды и пыли. В этом убедились многие владельцы «ИЖ—Планеты-спорт», на которой по объективным причинам, как и у ряда других машин, цепная главная передача выполнена открытой.Многочисленные исследования, проведенные различными фирмами, показали, что, если мотоцикл предназначен не только для автострад, цепная передача...
Читать далее >>По характеристике и на деле Начало статьи про экономичность. Давно минули времена, когда бензин был дешевле газировки. Сейчас всех мотоциклистов интересует расход топлива. Беспокоит этот вопрос и конструкторов. Пример «ИЖ-Юпитер—5», который заметно экономичнее своего предшественника. Но давайте сравним расход топлива ИЖ-Ю5 и современного автомобиля: ВАЗ— 2108 при скорости 90 км/ч потребляет 5,9 л бензина на 100 километров пути, а ИЖ-Ю5 с коляской при этой же скорости — 7,1. Странно, неправда ли? Мотоцикл, который легче «Спутника» в пять раз и имеет двигатель втрое меньшей мощности, тем не менее не уступает автомобилю по расходу горючего и даже превосходит его. Как говорится, не в коня корм. И тут, естественно, первая претензия к создателям: им работать и работать над улучшением экономичности нынешних мотоциклов, В то же время и сами мотоциклисты должны принять все меры, чтобы не расходовать ни грамма бензина без пользы. Что же влияет на ...
Читать далее >>Шоссейно-кольцевая гонка Tourist Trophy Шоссейно-кольцевая гонка «Турист-трофи», или, как ее сокращенно называют, ТТ, проводится на острове Мэн в Ирландском море. Это первое соревнование мотоциклистов, получившее международное признание. Теперь оно входит в розыгрыш мирового чемпионата по шоссейно-кольцевым гонкам.Прежде гонка преследовала иные цели — всестороннее испытание дорожных, «туристских», мотоциклов при напряженных режимах работы двигателя. Впервые соревнование было проведено в 1907 году в двух классах мотоциклов: «Сениор» (старшая) — для двухцилиндровых мотоциклов и «Юниор» (младшая) — для одноцилиндровых. Рабочий объем двигателей не ограничивался, но расход топлива на 100 км не должен был превышать 3,8 литра для двухцилиндровых двигателей и 3,1 литра для одноцилиндровых. В 1909 году ограничения в расходе топлива были отменены, и «Турист-трофи» стал скоростной гонкой. В 1911 году разделение...
Читать далее >>В традициях уральской марки Мотоциклы, выпускаемые ирбитским заводом, пользуются устойчивым спросом, особенно у жителей сельской местности. На проселочных дорогах, в горах «Урал» более подвижен и маневрен, чем автомобиль, а порой превосходит его и в проходимости. Сочетание высокой грузоподъемности, хорошей комфортабельности и скоростных качеств делает его универсальным, пригодным для деловых поездок, туризма, отдыха. Рис. 1.Мотоцикл ИМЗ—8.103-30 «Урал». В основе популярности «Урала» — проверенная, надежная конструкция, хорошо согласованная со спецификой эксплуатации. Так, четырехтактный двигатель работает на повсеместно распространенных сортах бензина А-72, А-76. Карданная передача к заднему колесу рассчитана на долгую и безотказную службу. Рис. 2.На щитке приборов установлены спидометр и контрольные лампы. Маятниковые рычаги в подвесках заднего колеса и колеса прицепа установлены на резиновых сайлент-блок...
Читать далее >>В дальней поездке на мотоцикле ЯВА-350 модели «634.01» неожиданно отказал генератор. В результате разборки и прозвонки при помощи лампочки и аккумулятора я обнаружил, что какая-то из обмоток якоря пробита на «массу», из-за чего генератор давал недостаточное напряжение. Внешним осмотром место замыкания найти не удалось, и я поступил следующим образом. Обмотав коллектор якоря медным проводом (соединив таким образом все обмотки якоря параллельно), подключил мощный автомобильный аккумулятор 12 В между коллектором и сердечником якоря. Неисправная обмотка быстро нагрелась, задымила и заискрила в месте замыкания — там, где обмоточный провод изгибается и входит в паз сердечника. Дальше — уже дело техники. Отодвинув провод от острой грани сердечника, изолировал провод и залил место ремонта лаком для ногтей. Генератор заработал. С этим якорем я благополучно вернулся домой, езжу до сих пор. уже более 5000 километров, и не замечал ни перебоев, ни каких-либ...
Читать далее >>