На современных кроссовых мотоциклах подвеска колес работает в исключительно сложных условиях. При прыжках машина приземляется, как правило, на заднее колесо, и пружины задней подвески нередко воспринимают толчки, по силе в несколько раз превышающие вес мотоцикла.
Известно, что чем выше нагрузка на колесо, тем жестче следует делать его подвеску. Но такая подвеска, выгодная при прыжках, делает машину трудноуправляемой при движении с большой скоростью на участках с частыми небольшими неровностями. Как компромиссное решение применяют сравнительно мягкую подвеску с очень длинным ходом. Так было сделано на прошлогодних кроссовых моделях «Майко» и «Хускварна». Но здесь возникает другая проблема: при длинноходной подвеске в невыгодных условиях работают гидравлические амортизаторы — их жидкость быстро нагревается, и узел перестает правильно функционировать. Дополнительные бачки для жидкости на амортизаторах и внушительные ребра охлаждения, появившиеся в 1974 году, не дали нужного эффекта. Требовалось принципиально новое решение.

Рис. 1. Гидропневматическая подвеска ЧЗ для заднего колеса. Бросается в глаза отсутствие пружины.
Его нашел инженер из Чехословакии Франтишек Крнавек, предложивший оригинальную гидропневматическую подвеску колес мотоцикла (рис. 1). В ней упругим элементом служит не пружина, а сжатый газ, например воздух. Особенность заключается в том. что чем выше сила, приложенная к штоку подвески, тем сильнее сжимается газ и тем выше жесткость упругого элемента. Иными словами. у этой подвески прогрессивная характеристика жесткости
Ф. Крнавек использовал давно известный принцип и создал свою очень простую и работоспособную конструкцию. По его патентам завод 43 изготовил заднюю подвеску для своих кроссовых мотоциклов. На одном из них и выступал в чемпионате мира 1974 года сереоряный призер Я. Фальта. В том же году Я. Яниш, заводской гонщик-испытатель, опробовал на третьем этапе первенства мира переднюю телескопическую гидропневматическую вилку. И, наконец, в этом году обе новинки не только кашли применение на кроссовых мотоциклах 43, но и стали ооразцом для подражания («Хускварна». «Ямаха»).
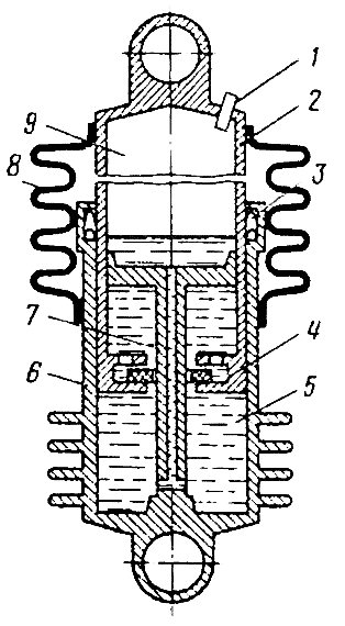
В пневмогидравлической подвеске кроссового 43 (рис. 2) — скользящие один относительно другого цилиндры 2 и 6. С днищем цилиндра 6 связан шток 7. выполненный заодно с поршнем. В полости 9 над поршнем находится воздух под давлением 2,5—3,0 кг/см». Пространство под поршнем, заполненное амортизационной жидкостью, разделено на две камеры обоймой с клапаном 4. По каналу в штоке 7 часть масла поступает в надпоршневое пространство и создает гидравлическое уплотнение поршня.

Рис. 2. Устройство узла подвески: 1 — клапан для накачки воздуха; 2 — стальной верхний цилиндр; 3 — уплотнительные манжеты; 4— клапан амортизатора; 5— амортизационная жидкость; 6 — дюралюминиевый нижний цилиндр с охлаждающими ребрами; 7 — шток с поршнем; 8 — резиновая защитная гармошка; 9 — верхняя полость со сжатым воздухом.
При наезде на неровности цилиндры 2 и 6 перемещаются и воздух, сжимаемый в полости 9, играет роль пружины. Жидкость. перетекая через клапан 4, поглощает энергию колебаний нижнего цилиндра 6. Таким образом, здесь в одном узле объединены упругий элемент и амортизатор. Сечение штока 7 сделано переменным, чтобы получить желаемый процесс амортизации.
Новый узел задней подвески 43 может быть установлен взамен прежнего пружинного. Максимальный ход составляет 90 мм; диаметр узла в наиболее широком месте — 90 мм.
В 1975 году новая задняя подвеска устанавливается не только на «фирменных», но и на серийных (то есть поступающих в клубы) кроссовых мотоциклах ЧЗ ( CZ ).
1975N08P36-37
Кто возьмется за производство ? Головной НИИ мотоциклостроения (ВНИИмотопром) в Серпухове разработал конструкцию двигателя для мопедов и мокиков. Это двухтактный мотор Д-51 современной конструкции с обратным лепестковым клапаном на впуске и автоматическим центробежным сцеплением. Применение лепесткового клапана позволяет улучшить динамические качества мокика на малых и средних режимах работы двигателя и на 10—12% снижает расход топлива. Автоматическое же сцепление существенно упрощает управление машиной. Новый двигатель рабочим объемом 49,8 см3 развивает мощность 1,8 л. с./1,32 кВт, а масса его составляет 15 кг. Он удовлетворяет всем требованиям отечественных и международных стандартов, ограничивающих уровни шума и токсичных выбросов. Казалось бы, есть повод для радости, но... кто возьмется за выпуск такого двигателя? Ковровский завод имени Дегтярева и шяуляйский «Вайрас» разрабатывают собственные конструкции, но до их выпуска далеко. ВНИИмотопром сам не имеет...
Читать далее >>Подвижное в подвижном Нет контакта — нет износа Чистота — залог долговечности Маслом механизм не испортишь Одинаковы, да не совсемКогда мы приобретаем сверкающую хромированными и лакированными деталями новую машину, тщательно обкатываем ее на первых тысячах километров и наслаждаемся затем мягкой и мощной работой двигателя, то кажется, что мотоцикл всегда будет новым. Однако проходит время, и через 20—40 тысяч километров пробега (в зависимости от класса машины, стиля езды и других факторов) двигатель начинает издавать неприятные стуки, его мощность падает, в подвесках дают о себе знать люфты, которые заставляют водителя на плохих дорогах сжимать с удвоенной силой руль, прыгающий из стороны в сторону. Очевидно, прошла пора буйной молодости и спокойной зрелости вашего механического коня. Приближается старость. Какие же необратимые изменения, происшедшие в механизмах мотоцикла, так отличают его от той великолепной, восхищавшей своего владельца машины, какой она была ...
Читать далее >>Приближаясь к светофору, подающему красный сигнал, подтормаживайте заранее и прерывисто – это поможет привлечь внимание водителей, управляющих автомобилями, которые едут сзади. На склоне, на подъем паркуйтесь передним колесом – начиная движение, проще мотоцикл откатить немного назад, нежели толкать обратно в гору. Оставайтесь на передаче, останавливаясь на светофоре. Не переставайте контролировать ситуацию сзади, пока не удостоверитесь, что поток автомобилей позади вас действительно остановился. Делать это удобно, использую периферическое зрение. Двигайтесь так, чтобы другие участники движения всегда хорошо вас видели. Не стоит двигаться, непосредственно, по краю полосы – вы вправе занимать ее целиком. Постоянно контролируйте происходящее впереди вас. Если вам необходимо притормозить в повороте, вначале спрямите траекторию. Иначе это может вызвать неконтролируемый занос и падение. По возможности старайтесь практиковаться на прямых, пустых трассах, имитируя объезд...
Читать далее >>Возрождение "Востока" Наши спортсмены-ветераны помнят марку «Восток» на мотоциклах, изготовленных в Серпухове научно-исследовательским институтом мотоциклостроения. Потом на время работы над спортивными мотоциклами были прекращены, и ведущие гонщики выступали на машинах зарубежных фирм — CZ, Jawa, KTM. И вот в 1980 году состоялся старт сборной команды страны на новых советских кроссовых мотоциклах «Восток» (125 см3). В соревнованиях на Кубок дружбы социалистических стран она заняла второе место, вслед за сильной чехословацкой командой. Путь к этому успеху занял около пяти лет. Для создания современной конкурентноспособной машины нужно было решить серьезные задачи: добиться высокой мощности, подобрать, запрограммировав на ЭВМ параметры двигателя и трассы, передаточные числа трансмиссии, чтобы обеспечить хорошую динамику машины и работу мотора в оптимальном режиме. Немало усилий потребовало создание экипажной части, подбор жесткости подве...
Читать далее >>Тяжелый мотоцикл с установленным на нем опытным образцом двигателя РД— 515. Высокая удельная мощность, компактность, технологичность изготовления — таковы основные достоинства, благодаря которым поршневой двигатель внутреннего сгорания (ДВС) не только занял ведущее место среди тепловых машин, но и успешно противостоит попыткам заменить его другими силовыми установками. Между тем этому двигателю присущи и серьезные органические недостатки. Один из самых существенных — возвратно-поступательное движение поршня и порождаемые им силы инерции, которые не всегда можно уравновесить. Отсюда — дополнительные динамические нагрузки, вибрации, шум. Другой — наличие в четырехтактных двигателях довольно сложного газораспределительного механизма, требовательного к уходу. Вот почему параллельно с совершенствованием традиционных поршневых ДВС инженеры, изобретатели десятилетиями работали над схемами двигателей, где рабочий орган — поршень совершал бы ...
Читать далее >>