«Хочу заменить поврежденные спицы на колесе мотоцикла. Расскажите, пожалуйста, как после этого «отрегулировать» колесо», — просит А. Колтунов из Новочеркасска.
С. Юзовского из Львова интересует, почему его мотоцикл после ремонта колес потерял устойчивость на большой скорости и как этот недостаток устранить.
Отвечает на вопросы мотоциклистов инженер Э. КОНОП.
Заметное биение колес — одна из возможных причин ухудшения устойчивости, раскачивания и «рыскания» мотоцикла, появления значительных вибраций. Оно возникает в одних случаях из-за деформации обода как следствие «энергичного» наезда на препятствие, в других — из-за ослабления или обрыва спиц под воздействием вибраций и переменных нагрузок (особенно при езде по плохим дорогам).
Сильно деформированный обод восстановить очень трудно, поэтому его обычно заменяют новым, а имеющий небольшие повреждения исправляют рихтовкой.

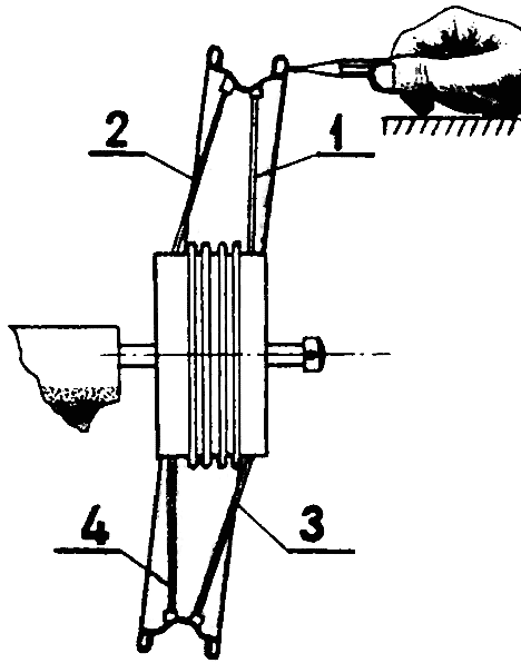
Рис. 1. Перед разборкой колеса надоизмерить расстояние «а».
Для этого поврежденное колесо разбирают, предварительно измерив расстояние «а» (рис. 1), чтобы после сборки плоскость симметрии обода совпала с осью симметрии мотоцикла. В противном случае колеса окажутся лежащими в разных плоскостях, что приведет к появлению неустойчивости.
Если ниппель спицы из-за коррозии не отворачивается, надо смочить место соединения его со спицей керосином.
После рихтовки поврежденного обода приступают к сборке. Прежде всего устанавливают спицы в гнезда тормозного барабана. Ниппели (гайки) вначале навинчивают от руки. Если они идут с трудом, резьбу необходимо откалибровать метчиком. «Тугой» ниппель затруднит сборку колеса. Сильно поврежденные коррозией спицы надо заменить, так как они утратили большую часть первоначальной прочности.
С самого начала и до завершения сборки и работы по устранению биения колеса необходимо периодически контролировать расстояние «а».

Рис. 2. Определение осевого биения обода: 1 — 4 — спицы.
Чтобы проверить биение, вставляют в подшипники колеса ось и зажимают ее в тисках через два деревянных бруска. Постепенно затягивая ниппели и вращая колесо, мелом или карандашом (имеющими неподвижную опору) отмечают точку наибольшего осевого биения обода (рис. 2). Вблизи этой точки несколько увеличивают длину группы спиц 1 и подтягивают группу спиц 2. В диаметрально противоположном месте подтягивают спицы 3 и ослабляют спицы 4. Периодически вращая колесо и каждый раз отмечая «выступающую» точку, постепенно добиваются минимального осевого биения.

Рис. 3. Определение радиального биения обода: 1 — 4 — спицы.
Подобным образом устраняют и радиальное биение обода (рис. 3). Но в этом случае около «выступающей» точки следует укоротить (натянуть) обе группы спиц — 1 и 2, а в диаметрально противоположном месте — ослабить спицы групп 3 и 4.
Следует помнить, что натяжение спиц влияет на оба вида биения одновременно, поэтому, добившись минимального осевого биения и устраняя только радиальное, группы спиц 1 и 2 натягивают, а группы спиц 3 и 4 ослабляют в равной степени (на одно и то же число оборотов ниппеля). Иначе за уменьшение радиального биения можно поплатиться повышением осевого. Все это делают внимательно и вдумчиво. Поспешность здесь всегда приводит к увеличению затрачиваемых усилий и лишь отдаляет удачное завершение кропотливой работы.
Новый, не имеющий деформации обод удается, как правило, смонтировать с биением не более 0,5 мм. Для старого же обода можно считать допустимым биение до 2 мм.
Завершая работу, остается проверить, одинаково ли натянуты спицы. Это легко оценить по высоте звука, который издает спица, когда по ней постукивают ключом. Звучание всех спиц должно быть одного тона. Выступающие из ниппеля концы спиц спиливают во избежание прокола камеры.
Кроме биения обода, нередко можно встретить биение шины колеса из-за ее неправильного монтажа. В эксплуатации такая покрышка неравномерно изнашивается и деформируется — в результате устранить ее биение уже не удастся.

Рис. 4. Шина со смещенными половинами
Иногда новые шины, установленные на колесо без заметного биения, все-таки приводят к неприятному вилянию, «рысканью» мотоцикла на малых скоростях (20—30 км/час). Наиболее частой причиной оказывается дефект покрышки, схематически показанный на рис. 4. В этом случае при движении мотоцикла «пятно» контакта шины с дорогой при каждом обороте колеса совершает колебание между крайними левым и правым положениями, что приводит к раскачиванию мотоцикла. На малых скоростях, особенно если сильно загружен багажник, наступает резонанс поперечных колебаний мотоцикла, тогда «рысканье» становится сильным. Поэтому, покупая новую покрышку, посмотрите, нет ли у нее этого дефекта. Некоторые опытные мотоциклисты подобную шину вначале ставят на заднее колесо, где она сравнительно быстро «обрабатывается», принимая правильную форму.
Требовательный мотолюбитель обращает внимание также на балансировку колес. Даже простейшее уравновешивание их при помощи свинцовой ленты, наматываемой на спицы в «легком» месте, существенно уменьшает вибрации ходовой части и подвесок мотоцикла и, следовательно, улучшает управление им. Одновременно уменьшается износ ходовой части, а также подшипников и шин. Сбалансированное колесо при свободном вращении останавливается в любом положении.
1973N03P38
Из дорожного в спортивный В 1962 году Ижевский машиностроительный завод выпустил первую партию спортивных мотоциклов ИЖ-62Ш, предназначенных для шоссейно-кольцевых гонок. Они пришли на смену устаревшим мотоциклам ИЖ-54А. В том, что новая машина обладает лучшими динамическими и эксплуатационными качествами, можно убедиться, сопоставив краткие технические характеристики двигателей ИЖ-54А и ИЖ-62Ш. Основное преимущество двигателя ИЖ-62Ш перед ИЖ-54А состоит в том, что он, имея одинаковый с ним рабочий объем, развивает на 6—7 л. с. большую мощность. Это важное достоинство, если учесть, что мотоцикл предназначен для скоростных соревнований. ИЖ-62Ш создан на базе серийного «ИЖ-Юпитера». Причем переделка дорожного мотоцикла в спортивный несложна и доступна рядовым мотоспортсменам. Что же нужно сделать, чтобы повысить мощность двигателя до 26—27 л. с.? Показатели ИЖ-54А ИЖ-62Ш Число цилиндров 1 2 Диаметр цилиндра в мм 72 61,75 Х...
Читать далее >>КМЗ К-750М выходит на трассу Киевский мотозавод перешел на производство модернизированного тяжелого мотоцикла модели К-750М. Об испытаниях опытного образца этой машины журнал «За рулем» писал в № 11 за 1963 год в статье «Путь на конвейер». По конструкции и эксплуатационным качествам мотоцикл К-750М отличается от выпускавшегося ранее К-750 и унифицирован по посадочным местам и ряду узлов с мотоциклом М-62 Ирбитского завода. Рулевое управление мотоцикла К-750М, колеса, коробка передач, передняя телескопическая вилка, электрооборудование полностью взаимозаменяемы с аналогичными узлами и деталями М-62. Благодаря этому будет значительно улучшено снабжение запасными частями. Такие разные по конструкции узлы, как рама мотоцикла, шасси и кузов коляски, имеют теперь одинаковые присоединительные размеры и в сборе могут быть заменены аналогичными узлами другой модели. По техническим данным и износостойкости узлов мотоцикл К-750М превосходит своего предшественника. ...
Читать далее >>Переделка кроссового CZ-250 в многодневный Многодневные мотоциклетные соревнования — самый универсальный вид мотоспорта. Они требуют от гонщика отличной физической подготовки, мастерства кроссовика и шоссейника, а от машины — надежности, хороших ходовых качеств и выносливости. Недаром международные шестидневные соревнования называют мотоолимпиадой, подчеркивая тем самым их значимость. В 1972 году советская команда заняла на «шестидневке», проходившей в ЧССР, четвертое место. Это, конечно, успех: наши спортсмены, как и победители, не получили штрафных очков в основных соревнованиях (призеров выявили лишь специальные испытания). Но чтобы подняться на пьедестал почета, многое предстоит еще сделать.В нашей стране проводятся городские, республиканские и всесоюзные многодневки. Число участвующих в них спортсменов сравнительно невелико. Росту массовости, помимо организационных трудностей, препятствует отсутствие технически совершенных мотоциклов. К сож...
Читать далее >>Как устранить люфт стержня передней вилки в верхнем мостике На некоторых мотоциклах ЯВА после 30 — 50 тысяч километров пробега износ приводит к люфту стержня передней вилки в верхнем мостике. Он обнаруживает себя неприятными стуками при движении по плохой дороге. Применение фольги для уменьшения зазора малоэффективно, а затяжка гайки ничего не дает. Устранить люфт удалось при помощи специальной гайки и конусного кольца (рис. 1). Они изготовлены из инструментальной стали (можно, например, использовать 40Х) с закалкой до твердости 45 — 50 HRC. Новые детали ставим вместо круглой гайки, как показано на рис. 2. При затягивании верхней гайки разрезное кольцо разжимается и плотно фиксирует стержень вилки в верхнем мостике. Стопорную шайбу в этом случае можно не ставить. Рис. 1. Гайка (слева) и кольцо. Рис. 2. Узел крепления верхнего мостика: 1 — рулевая колонка рамы; 2 — конусная гайка: 3 — мостик: 4 — разрезное кольцо; 5 — гайка;...
Читать далее >>Jawa 350 634-01 Новая модель Ява 634 01 Редакцию посетили гости из Чехословакии — директор завода ЯВА С. ОЛДРЖИХ, главный конструктор Я. КРЖИВКА и директор конторы внешнеторгового объединения «Мотоков» А. МОГИЛА. Они рассказали о совместных работах советских и чехословацких мотоцикло-строителей, о достижениях мотоциклетной промышленности ЧССР» перспективах ее развития и спортивных успехах — четыре года подряд команды на мотоциклах ЯВА завоевывали главный приз мотоолимпиады — «Всемирный трофей» и три раза — «Серебряную вазу». Когда разговор перешел к машинам, поставляемым в СССР, гости рассказали о разработке новой дорожной модели, которая должна прийти на смену популярным у нас мотоциклов Ява-250 и Ява-350. Мотоцикл Ява 350 634-01 с новым боковым прицепом Велорекс Поскольку наших мотолюбителей этот вопрос интересует особенно, приводим подробную запись беседы. С. Олдржих. Сегодня можно говорить уже не об опытной ...
Читать далее >>