На мотороллере «Турист» при маневрах часто обедняется смесь, особенно когда в баке мало топлива (это отмечено и в статье «Почему падает мощность», опубликованной в майском номере «За рулем» за 1976 год). Причина в том. что бензобак мало возвышается над карбюратором. из-за чего бывает недостаточным напор топлива, поступающего самотеком.
Чтобы избавиться от этой неприятности, я применил диафрагменный топливный насос (рис. 1) от подвесного лодочного мотора «Ветерок-12» (пригодны насосы и других марок)

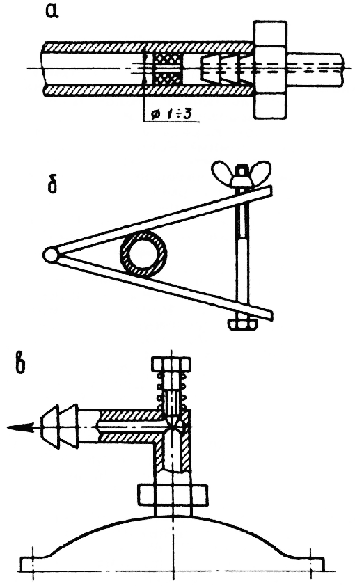
Рис 1. Схемы соединений насоса: 1 — насос; 2 — бензобак. А — штуцер, соединяемый с двигателем: Б — с карбюратором: В — с бензобаком.
Для привода насоса просверлил отверстие (рис. 2) в картере двигателя с выходом во впускной канал В нем нарезал резьбу М8 и ввернул штуцер, изготовленный согласно рис. 3. Он не должен выступать на стенку канала, поэтому устанавливать его и проверять следует при снятом цилиндре. Бензонасос закрепил болтами М6 на кожухе охлаждения двигателя с левой стороны. Соответствующие его штуцеры соединил шлангами с бензобаком и поплавковой камерой карбюратора.

Рис. 2. Отверстие в картере двигателя для приводы насоса.
Остается при работающем двигателе отрегулировать подачу топлива в карбюратор уменьшением сечения шланга, соединенного с картером двигателя. Это можно сделать при помощи втулки (рис. 4), вставляемой в шланг, струбцинки или регулировочного винта, врезанного в штуцер.

Рис. 3. Штуцер.
Теперь на любых дорогах, спусках и подъемах не бывает перебоев в работе двигателя.

Рис 4. Варианты регулирования подачи топлива при помощи: а — втулки; б — струбцинки: в — винта
С. МИГУНОВ
183025, г. Мурманск.
ул. Капитана Тарана, 10, на. 27
1977N11P38
Заряжать новым методом ? Дорогая вещь аккумулятор, а срок службы у него ограничен. Очень хочется предпринять какие-то решительные шаги, чтобы продлить его жизнь. Тем более что основания для этого стремления, вроде бы, есть. Ведь доводится иной раз услышать от автомобилистов примерно такое: «А вот один мой знакомый как-то говорил, что у его соседа батарея восьмой год служит, и все как новая. Может он секрет какой знает, да не рассказывает...» Конечно, чаще приходится выслушивать сетования неудачника, который клянет все на свете от заводов-изготовителей до своей злой судьбы. Но все-таки складывается впечатление, что резервы долгожительства у аккумулятора есть, и немалые, нужно только каким-то образом попасть в число тех, везучих... В такой ситуации сообщения о разных нетрадиционных методах заряда батарей падают на хорошо удобренную почву и волнуют многих автомобилистов. К тому же надо заметить, что информация, которая в них содержится, часто весьма скупа, а выгоды обещ...
Читать далее >>В №8-9 журнала «За рулем» за прошлый год опубликована статья В.Яковлева «На «Туле» из Ленинграда в Тулу», в которой наряду с общей положительной оценкой вездехода ТМЗ-5.951 содержались и критические замечания в адрес его изготовителей.Публикуем ответ главного конструктора мототехники Тульского машиностроительного завода В.Пудовеева на это «открытое письмо» читателя. Прежде всего хочу напомнить, что в статье В. Яковлева были перечислены такие недостатки и дефеты, как разрушение подшипника в ступице заднего колеса, небрежная сборка, плохая динамика машины, особенно на высших передачах, неудачная конструкция двухобъемного топливного бака. Постараюсь проанализировать эти замечания в том порядке, как они изложены.Разрушение подшипника колеса — случай единичный, что подтверждается статистикой наших гарантийных станций. Точно определить его причину сейчас уже трудно. Возможны два варианта: либо владелец мотоцикла бегло прочел инструк...
Читать далее >>Процессуальные права водителя при расследовании дел по дорожно-транспортным происшествиям ПотерпевшийПо советскому уголовно-процессуальному законодательству потерпевшим признается лицо, которому преступлением причинен моральный (например, оскорбление, клевета), физический или имущественный вред.По делам о нарушениях Правил дорожного движения и эксплуатации автомототранспорта потерпевшими могут быть водители, пассажиры, пешеходы и другие лица, не входящие ни в одну из этих трех категорий, например кондукторы, контролеры, грузчики. Правда, когда речь идет об имущественном вреде, надо оговориться, что водитель выступает как потерпевший, если он в то же время и владелец транспортного средства. Водитель автомобиля, автобуса, троллейбуса, трамвая, являющихся государственной собственностью или принадлежащих общественной организации, в случае повреждения транспортного средства не может быть признан потерпевшим, так как ущерб причинен не ему, а тому предприятию или организации, которым при...
Читать далее >>Обновленный двигательЛюбители мототехники заметили, что в продаже появились минские мотоциклы с крышками двигателя новой формы. Рассказать, что это за модель и какие ещё изменения, невидимые глазу, имеются в конструкции, мы попросили постоянного автора нашего журнала, конструктора минского мотовелозавода Г.Пилюкевича.Речь идет о мотоцикле MMB3-3.112.11, на который сейчас устанавливают двигатель «3.1122-03». Последний индекс в обозначении — «03» — показывает, что мотор дефорсирован. Его мощность — 10 л. с./7,4 кВт. Это сделано по многочисленным просьбам владельцев, которые хотели иметь мотор более «тяговитый», лучше приспосабливающийся к изменению нагрузки.Его цилиндр, головка и поршень остались прежними. А вот картер (обе половинки) и левая крышка стали короче на 30 мм и имеют иную форму, в том числе задней части. Не в угоду эстетике: при ежегодном выпуске 250 тысяч машин мы еще не можем позволить себе такой роскоши. Дело в другом. ...
Читать далее >>Новый привычный Урал Так уж случилось, что при всей популярности тяжелых мотоциклов ирбитского завода ни один из них до сих пор не попадал к нам на редакционные испытания. Между тем читатели не раз настойчиво рекомендовали нам познакомиться с ними поближе. И вот минувшей весной мы наконец получили новый «Урал».Впрочем, сначала была поездка на завод. Стоял январь. Но когда один из нас сошел с поезда, был поражен, увидев на привокзальной площади около десятка мотоциклов. Мороз около 30 градусов, ветер — а люди ездят на мотоциклах как ни в чем не бывало! В Москве, да и в других крупных городах европейкой части страны зимой такого не увидишь. После трех дней пребывания в Ирбите мотоцикл на улицах примелькался, стал привычен для глаза.Ирбитский мотоциклетный завод, выросший на голом месте в годы войны из эвакуированного московского предприятия, сейчас представляется довольно крупней фирмой, мощности которой позволяют выпускать до 130 тысяч машин в год. Однако оборудовани...
Читать далее >>