Автор предлагаемого материала — инженер С. НАУМОВ из г. Ирбита, опытный мототурист, неоднократно участвовавший в дальних и сложных испытательных и туристских походах на мотоциклах «Урал». Его рекомендации, подсказавшее и проверенные опытом, без сомнения, пригодятся всем владельцам тяжелых мотоциклов. А может быть и не только им.
Для удобства изложения я разделил свои предложения по темам. И начну с электрооборудования.
Чтобы облегчить установку двух последовательно соединенных аккумуляторных батарей ЗМТ-6, нужно от старой мотоциклетной камеры отрезать кольцо шириной 30 мм и надеть сразу на две банки. А лучше — два таких кольца, расположив их в верхней и нижней части банок.

Рис. 1. Соединение клемм двух батарей пластиной, установка резиновое кольца шириной 30 мм.
Советую соединить клеммы « +» одной батареи и «—» другой пластиной из нержавеющей стали или луженой меди (рис. 1), а выводы, с которых снимается напряжение, закончить штеккерными разъемами любого типа. Это исключит повреждение клемм. После зарядки аккумуляторных батарей их поверхность следует протереть ватным тампоном, смоченным в слабом растворе соды (1 чайная ложка на стакан воды). Соду лучше брать фотографическую, но в крайнем случае можно использовать и пищевую. Установка зазора между контактами прерывателя на мотоцикле затруднена. Я это делаю в приспособлении (рис. 2). Снятый с мотоцикла прерыватель устанавливаю в гнездо. На стержень приспособления диаметром 11 мм надеваю бегунок автомата опережения зажигания, который поворачиваю на этой оси до нужного положения, когда и выставляется зазор 0,4—0,6 мм. На мотоцикле М67 целесообразно запитать переключатель ближнего — дальнего света, минуя замок зажигания. Для этого серый провод в блоке предохранителей нужно перенести с предохранителя № 2 на предохранитель № 3 (рис. 3). Это позволит, не включая габаритные огни, использовать свет фары в необходимых случаях.

Рис. 2. Приспособление для регулировки зазора прерывателя.

Рис. 3. Новый вариант включения головного света: слева — до переделки, справа — после.
Свечи зажигания в мокрую погоду нередко забрызгивает. От этого можно избавиться, если на изоляторы свечей надеть резиновые втулки (рис. 4). Кстати, через такие втулки фара крепится к перьям вилки, поэтому можно использовать готовые.

Рис. 4. Резиновая втулка для изолятора свечи зажигания.
Регулировка карбюраторов на синхронность работы — дело не такое уж простое. Мне помогает в этом устройство (рис. 5), состоящее из двух одинаковых шайб и перемычки между ними (бензошланга). Шайбы можно выточить из алюминия или латуни. Трубки диаметром 8 мм запрессовываем, впаиваем или ввертываем на резьбе и соединяем шлангом. Шайбы устанавливаем между головками цилиндров и карбюраторами, обязательно с бумажными прокладками.

Рис. 5. Шайба-проставка под карбюратор.
Установка шайб с перемычкой делает работу двигателя более устойчивой, позволяет использовать обедненную смесь и заменить главные жиклеры с маркировкой «210» жиклерами меньшей пропускной способности, с маркировкой «185».
При регулировке один цилиндр, как обычно, отключаем, но по перемычке между шайбами смесь от него подсасывается к работающему.
Мощность при такой доработке не теряется. Улучшается пуск двигателя в холодное время. Заметно уменьшается расход топлива на средних режимах.

Рис. 6. Приспособление для сборки колеса. Струбцины сняты.
При замене спиц, обода или ступицы собрать колесо помогает несложное приспособление (рис. 6, 7). Колесо нужно уложить на него, предварительно слегка подсобрав. Вставить в центральное отверстие втулку 8 колеса и в нее — ось 9 заднего колеса. Установить на ось шайбу в и закрепить гайкой 5. Обод 2 колеса притянуть струбцинами 1 и равномерно затянуть все спицы, начиная с коротких. Точность сборки будет гарантирована, да и времени требуется немного.

Рис. 7. Колесо установлено в приспособление: 1 — струбцина; 2 — обод; 3 — спица; 4 — ступица; 5 — гайка; 6 — шайба; 7 — центрирующий выступ; 8 — втулка; 9 — ось; 10 — болт; 11 — гайка.
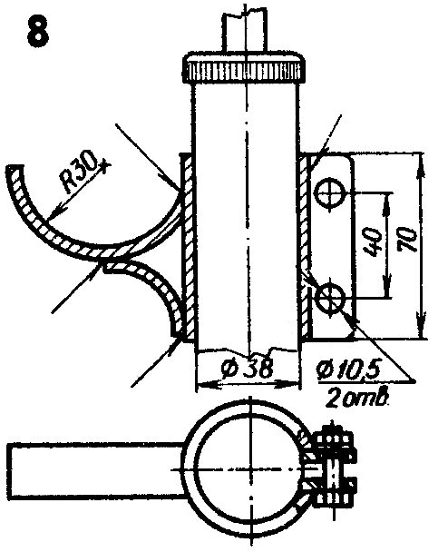
Шинный насос при небольшой доработке может выполнить и еще одну важную функцию — стать подставкой для мотоцикла (рис. 8). Кронштейн делается из трубы диаметром 38 мм с толщиной стенки 3—4 мм. Упоры — тоже отрезки трубы. Ширина каждого упора 20 мм. Основание насоса лучше укрепить дополнительной пластиной. Кстати, сам насос в этом случае имеет смысл закрепить с наружной стороны коляски, освободив внутренний объем для более нужных вещей.

Рис. 8. Шинный насос-подставка.
Грунтозацепы совершенно необходимая вещь на сложном участке проселочной дороги. Сделать их можно из отслужившего свой срок клинового ремня. Это лучше, чем цепь: не царапают обод, смягчают нагрузки на главную передачу, легко устанавливаются. Я ставлю на заднее колесо пять грунтозацепов.
1988N12P12
Многие считают, что все свечи одинаковы, главное в них - чтобы была искра. А на деле не все так просто... Действительно, без искры не запустить мотор. Однако он может проработать совсем немного, если вы закрутили в головку цилиндра первую попавшуюся под руку свечку "Явы 350-638", поступавшие на российский рынок, с самого начала комплектовали свечами "PAL Super 9". Это были качественные свечи, рассчитанные на эксплуатацию двигателей на высоких оборотах, или, по технической терминологии, "холодные", поскольку их калильное число по ГОСТу соответствует 26 единицам. И вот счастливый обладатель новенькой "Явы", в священном трепете соблюдая требования инструкции по обкатке, плетется на четвертой передаче со скоростью 70 км/ч. Для приработки цилиндро-поршневой группы это благоприятные условия. Но для вкрученной на заводе "PAL Super 9" они просто невыносимы. Ведь "Явы", будучи всегда по качеству выше отечественных "одноклассников", никогда не перегревались во время обкатки. Поэтому при обкаточ...
Читать далее >>В карбюраторах К-62 и К-63 на наших тяжелых мотоциклах пластмассовые поплавки, к сожалению, недолго сохраняли герметичность — у меня через 300 километров, у товарища через 600 километров пробега они наполнились бензином, — видимо, такая неудачная партия. Попытки найти новые, отремонтировать прохудившиеся при помощи клея или паяльника не увенчались успехом. Выход нашелся отличный — отрезал половину поплавка, а в оставшуюся часть плотно вставил немного обработанную пробку от винной бутылки (из пробковой коры), как показано на рисунке. Поплавки карбюратора: 1 — штатный; 2 — отремонтированный; 3 — пробка. Благополучно проездил все лето, а зимой покрыл пробку шеллаком и думаю, что она послужит еще не один год. Вместо пробки можно использовать пенопласт. А. ДАВЫДОВКировская область, г. Халтурин 1990N02P33
Читать далее >>Встречая новый "Восход" Каждый четвертый советский мотоцикл выпускается в Коврове. Новая модель «Восход—3» сохранила традиционную для этой марки преемственность с предыдущими. Она получила новые бензобак, систему впуска, задние амортизаторы, привод управления «газом» и демпфер вторичной передачи. На «Восходе—3» применены модернизированные тормоза, колеса, генератор, улучшено седло.У этого мотоцикла большая предыстория — девять моделей класса 175 см3 с маркой «Ковровец» и «Восход». И вот юбилейный, десятый по счету «Восход—3». Ковровский завод имени В. А. Дегтярева- недавно закончил всесторонние испытания новой дорожной машины и вскоре приступает к ее серийному производству.В основе конструкторских решений анализ пожеланий многочисленных потребителей нашей продукции, в сочетании с разработанными заводом мероприятиями по дальнейшему ее совершенствованию.Работы по мотоциклу...
Читать далее >>Тяжелые дорожные мотоциклы ирбитского мотоциклетного завода давно уже пользуются хорошей репутацией. Они еще раз подтвердили свою высокую надежность в последних всесоюзных испытаниях на первенство заводской марки, где «Урал-3» М-66 завоевал первое место.Конструкторы постоянно совершенствуют машину, чтобы ее технические и эксплуатационные качества полнее отвечали возрастающим требованиям по безопасности движения и удобству обслуживания и ремонта. Результатом большого труда заводского коллектива, работавшего в содружестве с рядом научных институтов — ВНИИМотопромом, ВНИИТЭ, ЦНИИТА, НИИ Автоприборов и другими, а также с заводами — поставщиками комплектующих изделий, явилось создание более совершенной модели, получившей обозначение М-67. Опытная партия этих машин была выпущена в конце прошлого года, а серийное производство началось с июля нынешнего года. Рис. 1. Схема электрооборудования: 1 — передний фонарь коляски; 2 — лампа А12-21-6 габаритного с...
Читать далее >>Уроки Юпитера 4 Заинтересованные читатели помнят, что четыре года назад редакция «За рулем» получила от ижевского завода для потребительских испытаний мотоцикл «Юпитер—4» с коляской. О своих впечатлениях, полученных в процессе знакомства с этой машиной, мы достаточно подробно рассказали в № 11 за 1981 год и № 7 за 1982 год. Последующая опытная эксплуатация позволила накопить немало наблюдений, замечаний и предложений по конструкции мотоцикла, о чем мы намеревались рассказать со страниц журнала. К счастью, сделать это нам не довелось. Именно к счастью: в то же самое время заводские специалисты интенсивно совершенствовали свою машину, в результате чего на свет появилась новая модель — «Юпитер—5» (с ним читатели познакомились в январском номере «За рулем» нынешнего года). В новой модификации так или иначе решены практически все вопросы, которые возникали у нас при испытаниях ИЖ Юпитер—4. Наскольк...
Читать далее >>